Мосты
Задний и промежуточный мосты схожи по конструкции, отличия в главных передачах.
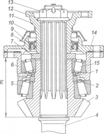
Картеры промежуточного и заднего мостов сварены из стальных штампованных балок с приваренными к ним крышками картеров. Картеры имеют фланцы для крепления главных передач, концевые фланцы для крепления суппортов тормозных механизмов и цапф ступиц колес, рычаги для крепления реактивных штанг и опоры рессор (рис. 3-93).
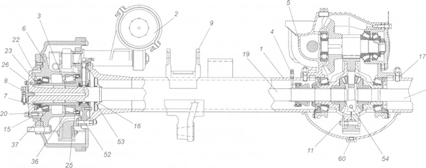
Рис. 3-93. Задний мост: 1 — картер заднего моста; 2 — камера тормозная; 3 — цапфа левая; 4 — клапан со штуцером; 5 — главная передача; 6 — ступица с тормозным барабаном; 7 — гайка подшипников; 8 — кран запора воздуха; 9 — опора рессоры; 10 — тормоз задний левый; 11 — дифференциал; 15 — прокладка полуоси; 16 — направляющая полуоси; 17 — прокладка картера редуктора; 18 — полуось правая; 19 — полуось левая; 20 — втулка разжимная; 22 — шайба замковая; 23 — контргайка; 25 — кольцо; 26 — прокладка; 36 — подшипник 7518 АК1 роликовый конический однорядный; 37 — подшипник 2007118А роликовый конический однорядный; 51 — предохранительный клапан; 52, 53 — манжета; 54 — пробка контрольного отверстия; 60 — пробка магнитная сливного отверстия.
Главные передачи промежуточного и заднего мостов в основном унифицированы. Главная передача промежуточного моста отличается от главной передачи заднего моста первичным валом, ведущим коническим зубчатым колесом, упорной шайбой и фланцем первичного вала, который аналогичен фланцу, установленному на зубчатом колесе привода промежуточного и заднего мостов раздаточной коробки.
Для повышения проходимости автомобиля в условиях бездорожья задний и промежуточный мосты снабжены механизмами блокировки межколесного дифференциала, установленными в картерах мостов.
Привод управления блокировкой межколесного дифференциала — электропневматиче-ский, включение которого производится нажатием клавиши на панели приборов. О включении блокировки свидетельствует сигнализатор (лампочка и зуммер).
Главная передача мостов двухступенчатая. Первая ступень состоит из пары конических зубчатых колес со спиральными зубьями, вторая ступень — из пары цилиндрических косозубых зубчатых колес.
Ведущее коническое зубчатое колесо 37 (рис. 3-94) главной передачи заднего моста установлено на шлицах первичного вала 38. Ведомое коническое зубчатое колесо 3 напрессовано на зубчатое колесо 5 с прямоугольной шпонкой 4. К ведомому цилиндрическому зубчатому колесу 23 болтами 22 прикреплены чашки 17 межколесного дифференциала.
В чашках расположены два конических полуосевых зубчатых колеса 21, которые находятся в зацеплении с четырьмя сателлитами 18, установленными на шипах крестовины 20 дифференциала. В сателлитах запрессованы бронзовые втулки 25. Под торцы полуосевых
зубчатых колес и сателлиты подложены опорные шайбы 19 и 24. В шлицевые отверстия конических зубчатых колес входят шлицы полуосей, фланцы которых прикреплены к ступицам колес шпильками и гайками.
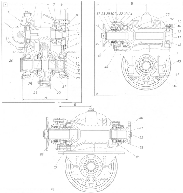
Рис. 3-94. I данная передача заднего и промежуточного мостов: 1 — картер главной передачи; 2 — заливная пробка; 3 — ведомое коническое зубчатое колесо; 4 — шпонка; 5 — ведущее цилиндрическое зубчатое колесо; 6, 9, 16, 34, 36 — конические роликовые подшипники; 7, 32 — стаканы подшипников; 8 — крышка подшипника; 10, 19, 24, 47, 54 — опорные шайбы; 11, 49, 51 — гайки; 12, 35 — регулировочные шайбы; 13, 33 — регулировочные прокладки; 14, 31, 39 — прокладки уплотнительные; 15 — гайка регулировочная; 17 — чашка дифференциала; 18 — сателлит; 20 — крестовина; 21 — полуосевое зубчатое колесо; 22 — болт крепления чашек дифференциала; 23 — ведомое цилиндрическое зубчатое колесо; 25 — втулка сателлитов; 26, 40, 53 — подшипники роликовые цилиндрические; 27, 50, 56 — фланцы; 28 — отражатель; 29 — манжета; 30, 41 — крышка; 37 — ведущее коническое зубчатое колесо; 38, 55 — первичные валы; 42, 48 — шайбы; 43 — крышка подшипника дифференциала; 44 — стопор гайки подшипника дифференциала; 45 — болт крепления; 46 — втулка распорная; 52 — шплинт; а — задний мост; б — промежуточный мост. А, В, F — регулируемые размеры.
Дифференциал в сборе с коническими подшипниками 16 вставлен в гнезда картера главной передачи. После установки дифференциала на наружные обоймы подшипника надеты крышки 43 и закреплены болтами 45.
Предварительный натяг подшипников осуществляется регулировочными гайками 15, ввернутыми в гнезда подшипников. Этими же гайками регулируется положение ведомого цилиндрического зубчатого колеса 23 относительно ведущего колеса 5.
Первичный вал 38 вращается в двух конических роликовых подшипниках 34 и 36, размещенных на конце ведущего конического зубчатого колеса 37, и в одном цилиндрическом роликовом подшипнике 40, установленном в гнезде картера главной передачи. Наружный конический подшипник 24 установлен в стакане 32. От попадания грязи и пыли, а также от вытекания смазочного материала передний подшипниковый узел защищен крышкой 30 с манжетой 29. Задний цилиндрический подшипник закрыт глухой крышкой 41 с прокладкой 39.
Рис. 3-95. Передний мост: 1 — картер переднего моста; 2 — главная передача переднего моста; 3 — шаровая опора поворотного кулака; 5 — левый корпус поворотного кулака; 7 — цапфа поворотного кулака левая; 8 — манжета сальника; 9, 21 — кольцо уплотнительное; 10 — ступица с тормозным барабаном; 11 — гайка подшипника; 12 — кран запора воздуха; 14 — суппорт переднего тормозного механизма; 23 — накладка кулака верхняя; 24 — накладка кулака нижняя; 25 — заглушка корпуса; 26 — кулак шарнира наружный; 28 — кулак внутренний левый; 29 — вкладыш кулака шарнира; 30 — диск шарнира; 31 — прокладка регулировочная; 35 — ведущий фланец; 36 — прокладка ведущего фланца; 37 — обойма сальника; 38 — пружина манжеты; 39 — кольцо распорное сальника; 40 — крышка сальника; 41 — прокладка сальника; 42 — рычаг поворотного кулака; 43 — втулка разжимная; 45, 47 — шайба замковая; 46 — контргайка подшипников; 48 — кольцо; 49 — прокладка крана; 50 — щиток тормозного механизма; 52 — пружина колодок тормоза; 53 — ось ролика переднего тормоза; 54 — ролик колодки; 56 — разжимной левый кулак; 57 — ось колодок; 58 — фиксатор оси колодок; 65 — подшипник 7518 АК1 роликовый конический однорядный; 66 — подшипник 27709 К1У роликовый конический однорядный; 67 — подшипник 2007118 А роликовый конический однорядный; 68, 69, 72 — болт; 74, 75, 99 — гайка; 87 — шплинт; 100 — шайба 27×45; 101 — опора шаровая; 103 — масленка; 104 — манжета.
Вал ведущего цилиндрического зубчатого колеса 5 размещен в двух конических роликовых подшипниках 6 и 9 и одном цилиндрическом 26, который расположен в гнезде картера главной передачи. Наружные обоймы подшипников установлены в стакане 7. Подшипниковый узел защищен от попадания грязи и пыли глухой крышкой 8 с прокладкой.
Для смазывания подшипниковых узлов в картере главной передачи имеются маслосборники, из которых масло по отверстиям в стенках картера и крышках поступает к подшипникам.
Главная передача переднего моста (рис. 3-95) в отличие от главных передач промежуточного и заднего мостов прикреплена к картеру моста фланцами, расположенными в вертикальной плоскости. Оригинальные детали главной передачи (рис. 3-96) переднего моста: чашка 3 межколесного дифференциала, картер 31 главной передачи, первичный вал 11, крышка 17, цилиндрический роликовый подшипник 8. Остальные детали и сборочные еди-ницы унифицированы с деталями и сборочными единицами главной передачи заднего моста.
Рис. 3-96. Главная передача переднего моста: 1 — крышка подшипника; 2 — ведомое цилиндрическое зубчатое колесо; 3 — чашка межколесного дифференциала; 4 — опорная шайба полуосе-вого зубчатого колеса; 5, 13, 14, 24, 25 — конические роликовые подшипники; 6 — полу осевое зубчатое колесо; 7 — опорная шайба сателлита; 8, 22 — цилиндрические роликовые подшипники; 9 — шпонка; 10 — заглушка; 11 — первичный вал; 12 — ведущее коническое зубчатое колесо; 15 — манжета; 16 — фланец; 17, 27 — крышки; 18, 26 — стаканы подшипников; 19, 30 — регулировочные шайбы; 20 — распорная втулка; 21 — ведомое коническое зубчатое колесо; 23 — ведущее цилиндрическое зубчатое колесо; 28 -опорная шайба; 29 — гайка; 31 — картер главной передачи; 32 — крестовина межколесного дифференциала; 33 — сателлит; 34 — регулировочная гайка; 35 — стопор гайки.
Картер переднего моста отлит как одно целое с левым коротким кожухом полуоси. Правый кожух запрессован в картер моста. К фланцам кожухов полуоси на шпильках прикреплены шаровые опоры с приваренными шкворнями. В шаровые опоры запрессованы бронзовые втулки, в которых установлены внутренние кулаки шарниров равных угловых скоростей.
Крутящий момент от внутреннего кулака 5 (рис. 3-97) к наружному передается через шарнир равных угловых скоростей. На шлицевом конце наружного кулака 1 установлен ведущий фланец 35, который прикреплен к ступице шпильками и гайками 99.
Полуоси всех мостов полностью разгруженные. На цапфах 7 (рис. 3-95) мостов с помощью гаек 11, замковых шайб и контргаек 46 закреплены ступицы 10, вращающиеся на конических роликовых подшипниках. К фланцам ступиц шпильками прикреплены тормозные барабаны и диски колес.
На шкворнях размещены корпуса 5 поворотных кулаков, которые поворачиваются на конических роликовых подшипниках. К корпусам поворотных кулаков прикреплены на шпильках цапфы 7 и суппорты 14 тормозных механизмов. В цапфы запрессованы бронзовые втулки, в которых вращаются наружные кулаки шарниров.
Рис. 3-97. Шарнир равных угловых скоростей:1 — наружный кулак шарнира; 2 — вкладыш наружного кулака; 3 — диск шарнира; 4 — вкладыш внутреннего кулака; 5 — внутренний кулак шарнира.
Кроме того, барабаны зафиксированы на ступицах тремя винтами. Ступицы и детали их крепления взаимозаменяемы.
Подшипники ступицы защищены от попадания грязи и пыли прокладками, расположенными под фланцем полуоси, и манжетой, установленной в расточке ступицы. Полость корпуса поворотного кулака предохранена от попадания грязи манжетой с распорным кольцом, которое прикреплено болтами к внутреннему торцу корпуса.
В картерах главных передач мостов имеются заливные отверстия, закрытые пробками. Через эти отверстия можно проверить состояние зубьев конических зубчатых колес и правильность пятна контакта.
Для выравнивания давления внутри картеров мостов в верхней части картеров установлены предохранительные клапаны.
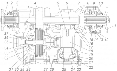
Рис. 3-98. Второй передний ведущий мост: 1 — фланец привода второго переднего моста; 2, 12, 22 — крышки подшипников; 3 — подшипник шариковый радиальный; 4 — кулак; 5 — шпонка; 6 — вал проходной привода переднего первого моста; 7 — шестерня ведущая коническая; 8,9, 19, 20, 27 — подшипники роликовые конические; 10 — манжета; 13. 21 — стаканы подшипников; 14, 25 — шайбы регулировочные; 15 — втулка распорная; 17 — подшипник роликовый радиальный; 18 — ведущая цилиндрическая шестерня; 23 — шайба опорная;24, 28 — гайка крепления подшипника; 26 — картер редуктора; 29 — стопор гайки; 30 — крышка подшипника; 31, 37 — шайбы опорные шестерен дифференциала; 32 — полуосевые шестерни; 33 — сателлит; 34 — крестовина; 35 — ведомая цилиндрическая шестерня; 36 — чашки дифференциала.
Возможные неисправности мостов и способы их устранения
Причина неисправности | Способ устранения |
Увеличенный зазор в зацеплении конических зубчатых колес | |
Износ зубьев конических зубчатых колес | Регулировать не следует, так как конические зубчатые колеса должны работать до полного износа без дополнительной регулировки |
Износ конических роликовых подшипников (имеется значительный осевой зазор в зацеплении) | Восстановить предварительный натяг подшипников ведущего конического зубчатого колеса, затем убрать необходимое число прокладок из-под фланца стакана подшипников для компенсации износа подшипников. Проверить правильность пятна контакта и боковой зазор в зацеплении конических зубчатых колес |
Повышенный уровень шума при движении автомобиля со скоростью 30-60 км/ч | |
Смещение пятна контакта в сторону широкой части зубьев ведомого конического зубчатого колеса. | Отрегулировать зацепление по пятну контакта |
Повышенный уровень шума при торможении автомобиля | |
Смещение пятна контакта в сторону узкой части зубьев ведомого конического зубчатого колеса | Отрегулировать зацепление по пятну контакта |
Пульсирующий шум при выключении сцепления и переключении передач | |
Смещение пятна контакта ближе к вершинам зубьев | Отрегулировать зацепление по пятну контакта |
Непрерывный шум при движении автомобиля | |
Сильный износ или повреждение зубчатых колес | Заменить зубчатые колеса комплектно |
Ослабление крепления подшипников | Затянуть гайку крепления подшипников на валах |
Сильный износ подшипников | Заменить подшипники, установить новые с предварительным натягом |
Недостаточный уровень масла в картере моста | Проверить уровень масла и долить |
Течь смазочного материала через манжеты и разъемы крышек | Заменить манжеты и подтянуть болты крепления крышек |
Способы определения неисправности по уровню и характеру шума следующие.
1. При движении автомобиля по шоссе со скоростью примерно 20 км/ч определить наличие шума. Затем постепенно увеличить скорость до 80 км/ч и заметить момент, при котором шум появляется и исчезает. Без притормаживания (снизив частоту вращения коленчатого вала двигателя) уменьшить скорость движения и во время замедления проследить за изменением шума, а также за промежутками, при которых его уровень выше. Обычно шум возникает и исчезает при одних и тех же скоростях движения во время ускорения и замедления.
2. Разогнать автомобиль до скорости примерно 80 км/ч, установить рычаг переключения передач в нейтральное положение, остановить двигатель и дать автомобилю возможность свободно катиться до остановки; при этом проследить за характером шума во время замедления на различной скорости.
Шум, отмеченный во время этого испытания и соответствующий шуму, замеченному во время испытания согласно п. 1, исходит не от главных передач, поскольку они без нагрузки не могут быть источником шума, за исключением шума подшипников. И наоборот, шум, отмеченный при испытании согласно п. 1 и не повторяющийся при испытании согласно п. 2, может исходить от главных передач или подшипников.
3. При неподвижном заторможенном автомобиле пустить двигатель, постепенно увеличивая частоту вращения коленчатого вала. Сравнить отмеченный шум с тем, который был замечен при двух предыдущих испытаниях. Шум, соответствующий возникшему при первом испытании, не относится к главным передачам — он вызван другими агрегатами и механизмами, возможно, воздухоочистителем, глушителем, двигателем, компрессором, насосом рулевого гидроусилителя, коробкой передач. Шум, обнаруженный при первом испытании и на этот раз не повторившийся, исходит от главных передач.
Техническое обслуживание
Для проверки мостов на герметичность подать воздух через резьбовое отверстие под предохранительный клапан картера моста с избыточным давлением в картере 19,6-24,5 кПа (0,20-0,25 кгс/см2).
Подтекание масла через манжеты, места соединений и сварные швы на картере моста недопустимы (незначительное образование масляных пятен на поверхностях в вышеуказанных зонах, кроме сварных швов, без каплеобразования не является браковочным признаком).
Для проверки уровня масла в картерах мостов следует вывернуть пробку контрольного отверстия на картере моста. Если масло из контрольного отверстия не вытекает, то через заливное отверстие в картере главной передачи долить масло до уровня контрольного отверстия. Не рекомендуется наполнять картер выше контрольного отверстия, так как это приводит к выбрасыванию масла через манжеты, а недостаточный уровень масла к повышенному износу деталей главной передачи.
Для проверки крепления фланцев на шлицевых концах валов мостов необходимо поставить автомобиль на смотровую яму или эстакаду и подложить упоры под колеса. Затем выключить стояночную тормозную систему, вывернуть пробки кранов запора воздуха на всех колесах, установить рычаг коробки передач и рукоятку крана управления раздаточной коробкой в нейтральное положение и выключить механизм блокировки межосевого дифференциала. Руками покачать фланец вала в продольном и поперечном направлениях. При наличии ощутимого зазора отсоединить соответствующий конец карданного вала и, расстопо-рив гайки крепления, подтянуть их, обеспечив моменты затяжки гаек:
— фланца привода заднего моста — 78-88 Н.м 8-9 кгс.м);
— фланца привода промежуточного моста — 59-69 Н.м (6-7 кгс.м);
— фланца привода переднего моста — 118-137 Н.м (12-14 кгс.м).
После подтяжки гайки закернить (зашплинтовать).
При смене масла нужно промыть картеры дизельным топливом, а магниты сливных пробок очистить от металлических отложений. Промыть предохранительные клапаны мостов дизельным топливом и продуть их сжатым воздухом. Масло сливать, вывернув пробки контрольных и заливных отверстий. Перед сливом масла прогреть мост пробегом автомобиля.
Ремонт
При ремонте в зависимости от неисправности надо демонтировать необходимый мост в сборе или только главную передачу. Картер главной передачи разобрать на следующие сборочные единицы, предварительно слив масло из мостов в чистую посуду (для дальнейшего его использования):
— ведущего конического зубчатого колеса;
— межколесного дифференциала. Следует помнить, что крышки подшипников межколесного дифференциала невзаимозаменяемы, поскольку они обработаны совместно с картером главной передачи;
— ведомого конического зубчатого колеса.
При разборке нужно обязательно проверять осевые перемещения в указанных выше сборочных единицах, поскольку сборка должна обеспечивать обязательный предварительный натяг конических под шинников. После полной разборки детали главной передачи промыть и проверить.
При осмотре деталей следует:
— проверить зубья и расположение пятна контакта на рабочих поверхностях зубьев конических зубчатых колес; при обнаружении недопустимого износа или повреждения (выкрашивания зубьев) детали заменить новыми. При неправильном зацеплении зубьев найти причину и устранить ее. В запасные части ведущее и ведомое конические зубчатые колеса поставляются комплектом, подобранным по шуму и пятну контакта, поэтому в случае повреждения одного из них надо заменять оба колеса;
— проверить зубья и пятно контакта на рабочих поверхностях зубьев цилиндрических зубчатых колес; при обнаружении недопустимого износа или повреждения (выкрашивания) зубьев детали заменить новыми;
— проверить состояние поверхности шипов крестовин, сателлитов и отверстий сателлитов межколесного дифференциала. При незначительных повреждениях можно отполировать поверхности мелкозернистой шлифовальной шкуркой, а при серьезных повреждениях детали заменить новыми. Аналогичным образом следует проверять состояние поверхностей шеек и торцов зубчатых колес полуосей, колес привода переднего, заднего и промежуточного мостов, межколесного дифференциала и их посадочных поверхностей в чашках дифференциала;
— проверить состояние поверхностей опорных шайб сателлитов, зубчатых колес полуосей и колес привода переднего, заднего и промежуточного мостов; при обнаружении незначительных повреждений устранить их, при необходимости детали заменить новыми;
— осмотреть все подшипники, они должны быть без износа, с гладкими рабочими поверхностями.
Для разборки главной передачи заднего моста нужно вывернуть самостопорящиеся болты крепления стопоров 44 гаек подшипников дифференциала заднего моста и снять стопоры (рис. 3-94). Отогнуть стопорные пластины болтов крепления крышек подшипников дифференциала и вывернуть болты 45. Снять крышки 43 подшипников, регулировочные гайки 15 подшипников дифференциала и вынуть дифференциал из картера главной передачи заднего моста. Расшплинтовать и отвернуть гайку 49 крепления фланца заднего моста и снять фланец 27. Вывернуть болты крепления крышки стакана подшипников ведущего конического зубчатого колеса, снять крышку 30 и опорную шайбу 47.
Вывернуть болты крепления крышки и снять крышку 41. Выпрессовать первичный вал 38 в сборе с ведущим коническим зубчатым колесом. Вывернуть болты крепления крышки и снять крышку 8. Расстопорить и отвернуть гайку 11 и снять опорную шайбу 10. Вынуть стакан подшипников 7 в сборе с подшипником 9 и наружной обоймой подшипника 6. Снять регулировочные шайбы 12 и вынуть узел ведомого конического зубчатого колеса.
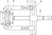
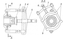
Для разборки дифференциала заднего моста надо спрессовать внутренние кольца конических роликовых подшипников 16 с чашек дифференциала 17. Для этого захваты 1 съемника (рис. 3-99) завести во внутреннее кольцо подшипника и зафиксировать винтами 3. Упираясь наконечником 2 в торец чашки дифференциала, ввертывать винт 5 в траверсу 4 до полного снятия внутреннего кольца подшипника.
Отвернуть самостопорящиеся гайки крепления чашек дифференциала, вынуть болты 22 (рис. 3-94), рассоединить чашки 17 дифференциала, вынуть ведомое цилиндрическое зубчатое колесо 23, полуосевые зубчатые колеса 21, снять опорные шайбы 19, 24, снять сателлиты 18 с крестовины 20.
Для разборки ведущего конического зубчатого колеса следует снять стакан 6 (рис. 3-100) с подшипником 15, регулировочные шайбы 1 и распорную втулку 2. Выпрессовать первичный вал 4 заднего моста, спрессовать съемником внутреннее кольцо конического роликового подшипника 5. Для снятия установить кромки клиньев 8 (рис. 3-101) между внутренним кольцом подшипника и колесом и, ввернув винт 6 в траверсу 7, стянуть их. Завести захваты 1 за клинья 8 и зафиксировать их в этом положении винтами 3. Упирая наконечник 2 в торец колеса и вворачивая винт 3 в траверсу 4, снять кольцо.
Для разборки ведомого конического зубчатого колеса следует спрессовать ведомое коническое колесо 3 (рис. 3-94) вместе с цилиндрическим роликовым подшипником 26. Вынуть шпонку 4. Спрессовать съемником внутреннее кольцо конического роликового подшипника 6 аналогично снятию внутреннего кольца подшипника ведущего конического зубчатого колеса (рис. 3-101). Разборка сборочных единиц главной передачи промежуточного моста производится аналогично разборке их у главной передачи заднего моста.
Для разборки главной передачи переднего моста необходимо вывернуть болты крепления стопоров гаек подшипников дифференциала переднего моста и снять стопоры. Отогнув стопорные пластины 35 (рис. 3-96) крышки 1, отвернуть регулировочные гайки 34 подшипников и вынуть дифференциал из картера главной передачи переднего моста. Вывернуть болты и смять крышку 27 с прокладкой стакана подшипников ведущего цилиндрического колеса. Раскернить и отвернуть гайку 29, снять опорную шайбу 28. Вворачивая технологические болты М12х 1,25×50 (2 шт.), выпрессовать стакан 26 в сборе с подшипником 25 и наружной обоймой подшипника 24. Вынуть узел ведущего цилиндрического зубчатого колеса 23 из картера. Спрессовать съемником (рис. 3-100) внутреннее кольцо конического подшипник 24 (рис. 3-96), роликовый подшипник 22, ведомое коническое колеси 21 и шпонку 9.
Рис. 3-99.Снятие внутреннего кольца подшипника дифференциала: 1 — захват; 2 — наконечник; 3,5- винты; 4 — траверса;
Рис. 3-100. Ведущее коническое зубчатое колесо главной передачи заднего моста: 1 — шайба регулировочная; 2 — втулка распорная; 3 — зубчатое колесо ведущее коническое; 4 — вал первичный; 5,15 — подшипники роликовые конические; 6 — стакан; 7 — шайба опорная; 8 — крышка стакана; 9 — манжета; 10 — отражатель; 11 — фланец ведущего зубчатого колеса; 12 — шайба; 13 — гайка; 14 — прокладка. Е — регулируемый размер.
Разборка сборочных единиц ведущего конического зубчатого колеса и дифференциала главной передачи переднего моста производится аналогично разборке их у главной передачи заднего моста.
При установке и регулировке подшипников и зубчатых колес главных передач конические роликовые подшипники вала ведущего конического зубчатого колеса надо установить с предварительным натягом. Крутящий момент, необходимый для проворачивания вала ведущего колеса в подшипниках, должен быть 0,78-1,57 Н.м (0,08-0,16) кгс.м). Измерять крутящий момент следует при непрерывном вращении фланца в одну сторону не менее чем после пяти полных оборотов вала.
Предварительный натяг подшипников главных передач надо проводить после первых 100-120 тыс.км пробега автомобиля. Для обеспечения предварительного натяга при наличии осевого перемещения ведущего конического зубчатого колеса нужно выполнить (при снятых главных передачах) следующие операции;
— отсоединить межколесный и межосевой дифференциалы;
— вынуть узел ведущей конической шестерни из картера редуктора;
— проверить осевое перемещение и уменьшить толщину регулировочной шайбы 46 на величину этого перемещения плюс 0,04-0,06 мм подбором из комплекта запасных частей (табл. 3-6) шайб 46 такой толщины, чтобы сила проворачивания стакана 7 в подшипниках была равна 11,4-22,8 Н (1,14-2,28 кгс);
Обозначение комплекта | Толщина пакета шайб, мм | Обозначение комплекта | Толщина пакета шайб, мм |
53205-2402188 | 18,10 | 53205-2402288 | 12,10 |
53205-2402189 | 18,15 | 53205-2402289 | 12,15 |
53205-2402190 | 18,20 | 53205-2402290 | 12,20 |
53205-2402191 | 18,25 | 53205-2402291 | 12,25 |
53205-2402192 | 18,30 | 53205-2402292 | 12,30 |
53205-2402193 | 18,35 | 53205-2402293 | 12,35 |
53205-2402194 | 18,40 | 53205-2402294 | 12,40 |
53205-2402195 | 18,45 | 53205-2402295 | 12,45 |
53205-2402211 | 19,25 | 53205-2402318 | 13,60 |
— затянуть гайку крепления фланца ведущего конического зубчатого колеса с моментом затяжки 240-360 Н.м (24-36 кгс.м);
— измерить силу проворачивания стакана в подшипниках динамометром. При несоответствии силы проворачивания стакана указанной величине [11,4-22,8 Н (1,14-2,28 кгс)] регулировку надо повторить.
Измерять силу проворачивания нужно при непрерывном вращении стакана в одну сторону не менее, чем после пяти полных оборотов вала.
Подшипники при этом должны быть смазаны. При проверке момента вращения ведущего зубчатого колеса крышка стакана подшипника должна быть сдвинута в сторону фланца так, чтобы центрирующий выступ крышки вышел из гнезда стакана подшипника и манжета не оказывала бы сопротивления вращению колеса.
— вынуть узел ведущей цилиндрической шестерни из картера редуктора;
— проверить осевое перемещение ведущего цилиндрического зубчатого колеса 5 в конических подшипниках 6, 9 и уменьшить толщину регулировочной шайбы 46 на величину этого перемещения плюс 0,03-0,05 мм подбором из комплекта запасных частей (табл. 3-7) шайбы 46 такой толщины, чтобы сила проворачивания стакана 7 в подшипниках была равна 14,3-50 Н (1,43-5 кгс);
— затянуть гайку 11 крепления подшипников ведущего цилиндрического зубчатого колеса с моментом затяжки 350-400 Н.м (35-40 кгс.м);
— измерить силу проворачивания стакана в подшипниках динамометром. При несоответствии силы проворачивания стакана указанной величине 14,3-50 Н (1,43-5 кгс) регулировку надо повторить. Силу проворачивания стакана нужно измерять при непрерывном вращении в одну сторону не менее чем после пяти полных оборотов вала.
При затягивании гаек необходимо проворачивать ведущее колесо, чтобы ролики подшипников заняли правильное положение между коническими поверхностями.
Установить отрегулированные по преднатягу узлы ведущей конической и ведущей цилиндрической шестерни в картер редуктора:
— проверить боковой зазор в конической паре, который должен быть в пределах 0,20-0,35 мм, и правильность пятна контакта. При необходимости удалить наиболее тонкую регулировочную прокладку под стаканом подшипников;
— застопорить гайки подшипников и гайку фланца;
— установить межколесный дифференциал, отрегулировав предварительный натяг подшипников затяжкой регулировочных гаек 15 так, чтобы расстояние между крышками подшипников увеличилось на 0,1-0,15 мм;
— собрать главные передачи и мосты, обеспечив герметичность всех фланцевых и болтовых соединений, имеющих выход в полости, в которые заливается масло, анаэробным герметиком Локтайт 518 или УН-25.
Рис. 3-101. Съемник внутренних колец подшипников ведущих зубчатых колес и чашек дифференциала моста: 1 — захват; 2 — наконечник; 3, 5 , 6 — винты; 4,7 — траверсы; 8 — клин; 9 — стойка.
После сборки ведущего колеса замерить размер Е, поскольку он будет необходим при регулировке зацепления конических зубчатых колес.
Ведущее и ведомое конические зубчатые колеса главной передачи подбирают на заводе в комплекты по пятну контакта и боковому зазору в зацеплении, притирают и клеймят порядковым номером комплекта. Кроме того, на заднем торце ведущего конического колеса наносится электрографом величина отклонения (поправка в сотых долях мм ) от теоретического установочного размера 81 мм. Знак «+» соответствует удалению ведущего колеса от оси ведомого, знак «-» — приближению.
При работе автомобиля зубчатые колеса прирабатываются одно к другому. Поэтому при необходимости замены колес следует заменять оба колеса комплектно. Вновь устанавливаемые конические зубчатые колеса должны иметь один порядковый номер комплекта.
При установке новых конических зубчатых колес главной передачи нужно отрегулировать их по пятну контакта и боковому зазору в зацеплении, который должен быть 0,20-0,35 мм.
Пятно контакта на обеих сторонах зуба ведомого конического зубчатого колеса должно иметь длину, равную приблизительно от 1/2 до 2/3 длины зуба на стороне переднего хода, от 1/2 до 3/4 длины зуба со стороны заднего хода. Минимальная ширина пятна контакта в средней части должна быть равна 1/2 активной высоты зуба. Контакт должен быть расположен ближе к внутренней части зуба, но не должен выходить на его кромку. Выход пятна контакта на кромку внешней (широкой) части также недопустим. На зубьях ведущего колеса пятно контакта может доходить до верхней кромки. Пятно контакта получают путем вращения ведущего колеса в обе стороны при одновременном подтормаживании рукой ведомого колеса.
При установке новых ведущих конических зубчатых колес в главную передачу надо определить толщину пакета регулировочных прокладок, устанавливаемых между фланцем стакана подшипников ведущего конического зубчатого колеса и картером главной передачи. Толщина пакета регулировочных прокладок определяется по формуле;
S = (81 ± поправка) + Е — В,
где Е — действительный размер от торца ведуще









