На двигателе применена система зажигания высокой энергии со статическим (бесконтактным) распределением высоковольтной энергии и электронным управлением моментом искрообразования (рисунок 38), которая включает:
— двухканальные двухискровые катушки зажигания Bosch 0221503001;
— высоковольтные провода;
— свечи зажигания Brisk SL15YC.
Электронный блок управления принимает опорные сигналы с датчика положения коленчатого вала. Отсутствие двух зубьев (двух опорных импульсов) на зубчатом венце противовеса коленчатого вала (рисунок 34) позволяет синхронизировать положение верхней мертвой точки (ВМТ) первого цилиндра. На основе рассчитанных значений частоты вращения и показаний датчиков системы, электронный блок управления выдает сигнал на реализацию искрообразования в соответствующем цилиндре. Используя информацию о напряжении питания системы управления, электронный блок корректирует время подключенного состояния первичной обмотки катушки зажигания к источнику питания, которое определяет время накопления энергии в катушках зажигания, необходимой для полноценного искрообразования. Отсутствие подвижных деталей не требует обслуживания системы зажигания.
Рисунок 38 — Схема нумерации цилиндров и расположения высоковольтных проводов.
Для статического (бесконтактного) распределения высоковольтного напряжения применяются две двухканальные двухискровые катушки зажигания. Одна из них вырабатывает высоковольтные импульсы на свечи зажигания: первый канал — для 1-го и 6-го цилиндров; второй канал — для 5-го и 3-го цилиндров. Вторая катушка: третий канал для — 4-го и 7-го цилиндров; четвертый канал — для 2-го и 8-го цилиндра. Причем, искровой разряд происходит одновременно на двух свечах зажигания соответствующего канала. Катушки установлены в развале блока цилиндров (рисунок 38).
Для соединения катушек зажигания со свечами зажигания должны использоваться высоковольтные провода с распределенным помехоподавляющим сопротивлением не менее 2000 Ом/м.
Места соединений высоковольтных проводов и наконечников катушек зажигания, высоковольтных проводов должны иметь надежную защиту в виде резиновых чехлов с хорошей электрической изоляцией.
От состояния высоковольтных элементов системы зажигания зависит качество работы системы управления и двигателя в целом. При работе системы зажигания с высоковольтными проводами или наконечниками свечей без помехоподавляющего сопротивления создаются условия, которые могут привести к сбоям в электронном управлении или повреждениям электронных элементов системы.
В системе зажигания применяются свечи BRISK Super L15YC, возможна замена на аналогичные по характеристикам свечи зажигания.
Свечи зажигания, работающие в составе системы, должны иметь искровой зазор 0,3…0,4 мм. Превышение указанного зазора может привести к появлению пропусков зажигания, снижению мощности двигателя и пробою изоляции на массу элементов системы зажигания.
ЭЛЕКТРООБОРУДОВАНИЕ
ГЕНЕРАТОР предназначен для работы по однопроводной схеме электрооборудования.
На двигатель в зависимости от модели и комплектации могут устанавливаться генераторы разных моделей (см. таблицу 1).
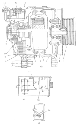
Электрическая схема генератора Г 273В показана на рисунке 39.
На генераторе имеются следующие выводы:
— «+» для подключения аккумуляторной батареи и нагрузки;
— В- для соединения с выводом ВК выключателя приборов и стартера;
— «-» для подключения к массе силовой установи;
— штекер на корпусе для вывода фазы.
На регуляторе напряжения, встроенном в щеткодержатель генератора, установлен винт сезонной регулировки.
Уровень регулируемого напряжения генератора в положении винта Л (лето) при силе тока нагрузки 20 А, частоте вращения коленчатого вала двигателя (1450+100) мин-1, температуре окружающей среды (25+10) °С и включенной аккумуляторной батарее должен находиться в пределах 27…28 В, в положении З (зима)- 28,8…30,2 В.
Рисунок 39 — Генераторная установка:
а) — электрическая схема; б) — разрез; в) — переключение напряжения «лето» — «зима»; 1 — шкив; 2 — вентилятор; 3 — крышка со стороны привода; 4 — статор; 5 — ротор; 6 — вал ротора; 7 — выпрямительный блок; 8 — крышка со стороны контактных колец; 9 — контактное лицо; 10 — крышка подшипника; 11 — подпиточный резистор; 12 — регулятор напряжения; 13 — щеткодержатель; 14 — винт посезонной регулировки.
ВНИМАНИЕ!
1 Нельзя подсоединять и отсоединять штепсельные разъемы и плюсовой вывод генераторной установки при работающем двигателе и включенных аккумуляторных батареях, а также пускать двигатель при отсоединенном плюсовом проводе генератора.
2 Не следует проверять исправность генераторной установки, замыкая выводы «+», «В» и «-» перемычками на массу и между собой.
3 Не соединять клемму «Ш» щеткодержателя, доступ к которой открыт через окно в кожухе щеткодержателя, с выводами «+» и «В» генератора. Это ведет к выходу из строя регулятора.
4 Нельзя проверять исправность схемы электрооборудования и отдельные провода мегомметром или лампой, с током потребления более 0,25 А.
5 Не следует проверять выпрямительный блок генератора от источника постоянного тока напряжением более 24 В, от источника переменного тока, а также без сигнализатора, включенного последовательно с выпрямительным блоком.
6 Во избежание выхода из строя регулятора напряжения при подзарядке аккумуляторных батарей от внешнего источника необходимо отключить батареи от сети.
7 При мойке двигателя рекомендуется защищать генератор от попадания воды.
СТАРТЕР (рисунок 40)закреплен на картере маховика с левой стороны двигателя, состоит из двигателя, механизма привода и электромагнитного реле. Передаточное число привода стартера 11,3. Электродвигатель стартера постоянного тока, последовательного возбуждения. Зубчатое колесо привода 13 входит в зацепление с венцом маховика принудительно с помощью электромагнитного тягового реле 9. Из зацепления зубчатый привод выходит при отключении электромагнитного реле после пуска двигателя. На стартере применен привод с храповичным механизмом свободного хода.
На двигателях применяются стартер 5662.3708-10 или СТ 142Б-1 в зависимости от исполнения картера маховика установленного на двигатель. Стартер 5662.3708-10 отличается от стартера СТ 142Б-1 размерами присоединительного фланца к картеру маховика.
Рисунок 40 — Стартер:
1 — крышка со стороны коллектора; 2,14,17 — подшипники; 3 — траверса; 4 — перемычка; 5 — болт контактный; 6 — крышка реле; 7 — диск контактный; 8 — шток; 9 — корпус реле с катушкой; 10 — крышка со стороны привода; 11 — ось рычага; 12 — привод; 13 — колесо зубчатое привода; 15 — шайба упорная; 16 — шайба замковая; 18 — катушки; 19 — якорь; 20 — щеткодержатель.
Компрессор 53205 (рисунок 41) поршневого типа, непрямоточный, одноцилиндровый, одноступенчатого сжатия. Диаметр цилиндра и ход поршня компрессора 92×46 мм, производительность — 380 л/мин при оборотах коленчатого вала 2200 мин-1 и противодавлении 7 кг/см2.
Компрессор установлен на переднем торце картера агрегатов двигателя в развале блока. Привод компрессора от коленчатого вала двигателя осуществляется шестернями привода агрегатов. Головка охлаждается жидкостью, подводимой из системы охлаждения двигателя. Масло к трущимся поверхностям компрессора подается из масляной магистрали двигателя: к картеру компрессора и по каналам коленчатого вала к шатуну. Поршневой палец и стенки цилиндра смазываются разбрызгиванием. Отбор воздуха в компрессор должен осуществляться из трассы подвода воздуха к двигателю после воздушного фильтра. Воздух поступает в цилиндр компрессора через пластинчатый впускной клапан. Сжатый поршнями воздух вытесняется в пневмосистему через расположенный в головке цилиндра пластинчатый нагнетательный клапан.
Рисунок 41 — Компрессор:
1 — картер; 2 — цилиндр; 3 — головка цилиндра; 4 — крышка; 5 — поршень; 6 — вал коленчатый; 7 — шатун; 8 — транспортная заглушка.
Насос гидроусилителя руля — в зависимости от требований заказчика устанавливается модели 4310 или ф. «RBL».
Рабочее давление насоса модели ф. «RBL» — 7,0 МПа (70 кгс/см2), производительность 0,016 м3/мин. Установка насоса ф. «RBL» показана на рисунке 3.
Уровень масла в бачке насоса гидроусилителя модели ф. «RBL» должен находиться между метками на корпусе бачка, проверяется указателем вмонтированном в пробку заливной горловины бачка.
Рабочее давление насоса модели 4310 — 5,4 МПа (55 кгс/см2), производительность 0,022 м3/мин.
Уровень масла в бачке насоса гидроусилителя руля модели 4310 следует проверять только указателем, вмонтированным в пробку заливной горловины бачка, уровень должен находиться между метками на указателе.
Передние колеса автомобиля, при проверке уровня масла в бачке должны быть установлены прямо, двигатель должен работать на холостом ходу.



